HD Hand Wheel Adj. Forks
Product Features
- Hand wheel adjustable forks for ease of adjustment.
- Forged forks allow for smaller fork sizes.
- Double frame design for heavy capacities.
- Complies with ASME standards.
Product Specifications

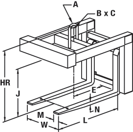
| Model 97 Specifications | |||||||||||||
|---|---|---|---|---|---|---|---|---|---|---|---|---|---|
| Model Number | Capacity (tons) | L (in.) | M (in.) | N (in.) | W Min (in.) | W Max (in.) | E (in.) | A (in.) | B (in.) | C (in.) | J (in.)* | HR (in.) | Weight (lbs) |
| 97-7 1/2-48 | 7-1/2 | 48 | 6 | 2-1/2 | 20 | 48 | 24 | 2 | 5 | 9 | 48 | 66 | 2600 |
| 97-7 1/2-60 | 7-1/2 | 60 | 6 | 3 | 20 | 48 | 30 | 2 | 5 | 9 | 60 | 77-1/2 | 3500 |
| 97-7 1/2-72 | 7-1/2 | 72 | 6 | 3 | 20 | 48 | 36 | 2 | 5 | 9 | 60 | 80 | 3950 |
| 97-10-48 | 10 | 48 | 6 | 3 | 20 | 48 | 24 | 2 | 5 | 9 | 48 | 65-1/2 | 3150 |
| 97-10-60 | 10 | 60 | 6 | 3 | 20 | 48 | 30 | 2 | 5 | 9 | 60 | 77-1/2 | 3850 |
| 97-10-72 | 10 | 72 | 7 | 3 | 20 | 48 | 36 | 2 | 5 | 9 | 60 | 82 | 4250 |
| 97-12 1/2-48 | 12-1/2 | 48 | 6 | 3 | 20 | 48 | 24 | 2 | 6 | 12 | 48 | 82 | 4200 |
| 97-12 1/2-60 | 12-1/2 | 60 | 6 | 3 | 20 | 48 | 30 | 2 | 6 | 12 | 60 | 82 | 4950 |
| 97-12 1/2-72 | 12-1/2 | 72 | 7 | 3-1/2 | 20 | 48 | 36 | 2 | 6 | 12 | 60 | 82 | 5750 |
| 97-15-60 | 15 | 60 | 7 | 3-1/2 | 20 | 48 | 30 | 2 | 6 | 12 | 60 | 82 | 5300 |
| 97-15-72 | 15 | 72 | 8 | 3-1/2 | 20 | 48 | 36 | 2 | 6 | 12 | 60 | 82-1/2 | 6400 |
|
* We recommend an additional 3"-4" clearance above the load for ease of loading and unloading the lifter.
|
|||||||||||||



